DODATEK L - PRIROČNIK ZA IZDELAVO JADRALNIH NAVODIL

V tem priročniku je zajet komplet preizkušenih jadralnih navodil, primernih predvsem za večja prvenstva za enega ali več razredov. Zato je še zlasti uporaben za svetovna, kontinentalna in državna prvenstva in druge prireditve; seveda pa bodo nekatera od teh navodil za take prireditve nepotrebna ali nezaželena. Zato morajo biti regatni funkcionarji pazljivi pri svoji izbiri.

Razširjena različica tega priročnika v angleščini, Appendix LE (Dodatek LE), je na voljo na spletni strani ISAF (www.sailing.org). V njem so pripravljeni predpisi za uporabo tudi na največjih in najzahtevnejših prireditvah za več razredov in tudi različne možnosti za več posameznih jadralnih navodil, ki so priporočena v tem dodatku. Priročnik bo občasno posodobljen, s tem bo lahko sledil razvoju tehnik za vodenje regat, in lahko se uporabi kot osnovno besedilo za izdelavo jadralnih navodil za katerokoli posebno prireditev. Tudi Dodatek L (Appendix L) lahko snamete s spletene strani ISAF.

Načela na katerih morajo temeljiti vsa jadralna navodila so naslednja:

1 Vključevati smejo samo dve vrsti navedb: namene regatnega in protestnega odbora in obveznosti tekmovalcev.

2 Zadevati morajo samo tekmovanje. Informacije o družabnih prireditvah, dodelitvi privezov, itd., morajo biti objavljene ločeno.

3 Ne smejo spreminjati jadralnih regatnih pravil, razen kadar je to očitno zaželeno. (Kadra jih spreminjajo, se morajo ravnati po jadralnem regatnem pravilu 86 s sklicem na zadevno pravilo, ki se spreminja, in navedbo spremembe.

4 Ne smejo ponavljati jadralnih regatnih pravil ali jih na novo formulirati.

5 Ne smejo se ponavljati.

6 Vrstni red navodil mora ustrezati kronološkemu zaporedju tako, kot jih bodo tekmovalci uporabljali.

7 Uporabljani morajo biti izrazi in fraze iz jadralnih regatnih pravil, če je le mogoče.

Za uporabo tega priročnika si oglejte pravilo J2 in se odločite, katera navodila bodo potrebna. Navodila, ki so predpisana v pravilu J2.1 so označena z zvezdico (*). Izbrišite vsa neuporabna oz. nepotrebna navodila. Kjer je možna izbira, izberite najustreznejšo različico. Upoštevajoč napotke na levi izpolnite manjkajoče podatke na črtah ( _____ ), in izberite ustrezne opise. Če je možna izbira, je možnost prikazana v oglatih oklepajih ([ . . . ]).

Ponovno po vrsti oštevilčite vsa navodila, ko ste izbrisali vsa neuporabna navodila. Pazite, da so številke in sklici v navodilih točni.

Ločeno napišite celotno ime regate, vse datume od meritev ali vadbenega plova do zadnjega plova oz. sklepne slovesnosti, ime organizatorja ter kraj/mesto in državo.

   
   
   

JADRALNA NAVODILA

 

1

PRAVILA

1.1*

Regata bo vodena po pravilih v Jadralnih regatnih pravilih.

Uporabite prvi stavek kot primerno. Vpišite ime. Naštejte predpise s številko in naslovom, ki ne bodo veljali (glej jadralno regatno pravilo 88). Uporabite drugi stavek kot primerno, če pričakuje udeležbo iz drugih držav, navedite zadevne predpise v celoti.

1.2

[Naslednji predpisi _____ nacionalne zveze ne bodo veljali: _____.] [Predpisi kateri bodo veljali so v celoti navedeni spodaj.]

 

(OR)

 

Uporabite le, če nacionalna zveza kraja prireditve ni sprejela nobenega predpisa k jadralnemu regatnemu pravilu 88.

1.2

Ne bo veljal noben nacionalni predpis.

Navedite naslove katerihkoli drugih dokumentov, po katerih bo potekala prireditev; npr. Pravila o jadralni opremi, in v kakšnem obsegu veljajo.

1.3*

Veljala bodo _____ .

Glej jadralno regatno pravilo 86. Bodisi tukaj vpišite številke(o) pravil(a) in navedite spremembe, ali, če ne uporabite tega navodila, naredite enako v vsakem navodilu, ki spreminja pravila.

1.4

Jadralno regatno(a) pravilo(a) _____ bo(do) spremenjeno(a), kot sledi: _____.

Na primer, uporabite ‘dve’ kadar je tekmovalno področje zelo majhno ali ‘štiri’ kadar so jadrnice zelo hitre.

1.5

Po jadralnem regatnem pravilu 86.1(b), v določilu Cona je razdalja spremenjena v [dve] [štiri] dolžine trupa.

Vpišite številke(o) pravil(a) in ime razreda. Navedite pravila za vsak razred ločeno.

1.6

Po jadralnem regatnem pravilu 87, pravilo(a) _____ pravil razreda _____ [ne bo(do) veljalo(a)] [se spremeni(jo) kot sledi: _____ ].

 

1.7

Pomensko bo veljalo angleško besedilo, če so med jeziki pomenske razlike.

Vpišite lokacijo(e).

2

OBVESTILA TEKMOVALCEM

Obvestila tekmovalcem bodo objavljena na uradni(h) deski(ah), ki bo(do) _____ .

Spremenite ure, če so drugačne.

3

SPREMEMBE JADRALNIH NAVODIL

Vse spremembe jadralnih navodil bodo objavljene pred 09:00 uro dneva veljavnosti, razen sprememb v razporedu plovov, ki bodo objavljene v dnevu pred dnevom veljavnosti do 20:00 ure.

 

4

SIGNALI NA OBALI

Vpišite lokacijo.

4.1

Signali na obali bodo izobešeni na _____ .

Vpišite število minut.

4.2

Kadar je na obali izobešena zastava Kodeks, se ‘1 minuta’ v regatnem signalu Kodeks zamenja z ‘ne manj kot _____ minut’.

 

(ALI)

 

Vpišite število minut.

4.2

Zastava D z enim zvočnim signalom pomeni ‘Opozorilni signal ne bo dan prej kot _____ minut po izobešenju zastave D. [Od jadrnic se zahteva, da do tega signala ne zapuščajo pristanišča.]’

Izbrišite, če je že v pravilih razreda.

4.3

Kadar je na obali izobešena zastava Y, na vodi neprestano velja jadralno regatno pravilo 40 za jadrnice. To spremeni preambulo 4.dela Jadralnih regatnih pravil.

 

5

RAZPORED PLOVOV

Popravite, kot je potrebno, in vpišite datume in razrede. Vključite vadbeni plov, če je predviden. Kadar je serija sestavljena iz kvalifikacijskih in finalnih plovov, jih točno določite. Razpored je lahko narejen tudi kot priloga.

5.1*

Datumi tekmovanj:

Datum   Razred ___   Razred ____

______   tekmovanje   tekmovanje

______   tekmovanje   rezervni dan

______   rezervni dan   tekmovanje

______   tekmovanje   tekmovanje

______   tekmovanje   tekmovanje

Vpišite razrede in številke.

5.2*

Število plovov:

Razred   Plovi   Plovov na dan

_____   _____   _____

_____   _____   _____

Na dan se lahko odjadra en dodaten plov tako, da je vsak razred največ za en plov pred programom in sprememba je narejena skladno z navodilom 3.

Vpišite uro.

5.3*

Opozorilni signal za prvi plov vsak dan je ob _____ .

5.4

Po dolgotrajni odložitvi, za obvestilo jadrnicam, da se bo plov oz. zaporedje plovov kmalu začel/o, bo izobešena oranžna zastava z enim zvočnim signalom najmanj štiri minute pred izobešenjem opozorilnega signala.

Vpišite uro.

5.5

Zadnji dan regate opozorilnega signala ne bo več po _____ uri.

Vpišite razrede in imena ali opise zastav.

6*

ZASTAVE RAZREDOV

Zastave razredov bodo:

Razred   Zastava

_____   _____

_____   _____

_____   _____

Vpišite številko ali črko.

7

REGATNA POLJA

V prilogi _____ je prikazana lokacija regatnih polj.

 

8

PROGE

Vpišite številko ali črko. Način predstavitve različnih prog je prikazan v Dopolnilu A. Vpišite dolžino proge, če je potrebno.

8.1*

Skice v prilogi _____ prikazujejo proge s približnimi koti med stranicami, zaporedje jadranja okoli oznak in stran, na kateri je treba pustiti posamezno oznako. [Približna dolžina proge bo _____ .]

 

8.2

Približna smer prve stranice v stopinjah bo prikazana najkasneje ob opozorilnem signalu na signalnem čolnu regatnega odbora.

 

8.3

Proge ne bodo skrajšane. To spremeni jadralno regatno pravilo 32.

Vključite le takrat, ko je spreminjanje položaja oznak neizvedljivo.

8.4

Po pripravljalnem signalu ne bo več spreminjanja stranic proge. To spremeni jadralno regatno pravilo 33.

9

OZNAKE

Spremenite številke oznak, kot je potrebno, in opišite oznake. Uporabite drugo različico, kadar predstavljata oznaki 4S in 4P vrata, kjer ostane oznaka 4S na desni strani in oznaka 4P na levi strani.

9.1*

Oznake 1, 2, 3 in 4 bodo _____ .

(ALI)

9.1*

Oznake 1, 2, 3, 4S in 4P bodo _____ .

Navedite katere so oznake za obračanje, če to ni jasno razvidno iz skice proge.

9.2

Oznake za obračanje so naslednje: _____.

Vnesite opise oznak.

9.3

Skladno z navodilom 12.1 bodo nove oznake _____ .

Opišite štartne in ciljne oznake: npr.: signalni čoln regatnega odbora na desnem koncu in boja na levem koncu. V navodilu 12.1 je opis štartne linije, v navodilu 13 je opis ciljne linije.

9.4*

Štartne in ciljne oznake bodo _____ .

9.5

Skladno z navodilom 12.2 je Čoln regatnega odbora, ki signalizira spremembo stranice proge, oznaka.

Opišite vsako območje in njegovo lokacijo z lahko prepoznavnimi podrobnostmi.

10

OBMOČJA, KI SO OVIRE

Sledeča območja so opredeljena kot ovire: _____ .

 

11

ŠTART

Vključite le v primeru, da bo uporabljena opcija z zvezdico iz jadralnega regatnega pravila 26. Vpišite število minut.

11.1

Štarti plovov bodo izvedeni po jadralnem regatnem pravilu 26, z opozorilnim signalom _____ minut pred štartnim signalom.

(ALI)

Opišite poljuben štartni sistem, ki ni naveden v jadralnem regatnem pravilu 26.

11.1

Štarti plovov bodo izvedeni, kot sledi: _____. To spremeni jadralno regatno pravilo 26.

 

11.2*

Štartna linija bo med drogovoma z oranžnima zastavama na štartnih oznakah.

 

(ALI)

 
 

11.2*

Štartna linija bo med drogom z oranžno zastavo na štartni oznaki na desnem koncu in štartno oznako na levem koncu.

 

(ALI)

 

Vnesite opis.

11.2*

Štartna linija bo _____ .

 

11.3

Jadrnice se morajo pred svojim opozorilnim signalom izogibati štartnemu območju med štartnimi procedurami drugih plovov.

Vpišite število minut.

11.4

Jadrnica, ki štarta več kot _____ minut po njenem štartnem signalu, bo točkovana kot ‘Ni štartala’ (DNS) brez zaslišanja. To spremeni jadralno regatno pravilo A4.

Vpišite številko kanala.

11.5

Regatni odbor bo skušal objaviti ugotovljeno številko jadrnice na UKV kanalu _____ , če je katerikoli del jadrničinega trupa, posadke ali opreme v zadnjih dveh minutah pred štartnim signalom na tekmovalni strani štartne linije. Neobjavljena ali nepravočasno objavljena številka jadrnice ni osnova za zahtevek nadomestila. To spremeni jadralno regatno pravilo 62.1(a).

 

12

SPREMEMBA NASLEDNJE STRANICE NA PROGI

 

12.1

Regatni odbor bo spremembo naslednje stranice proge izvedel tako, da bo originalno oznako (ali ciljno linijo) premaknil na novo pozicijo.

 

(ALI)

 
 

12.1

Regatni odbor bo namestil novo oznako (ali premaknil ciljno linijo) za spremembo naslednje stranice proge in odstranil originalno oznako, čim bo to možno izvesti. Kadar je potrebna še nadaljnja sprememba lege nove oznake, bo nova lega označena z originalno oznako.

Zamenjajte ‘levo’ in ‘desno’ kadar morajo pustiti oznake na desni.

12.2

Jadrnice morajo jadrati, razen skozi vrata, med čolnom regatnega odbora, ki označuje spremembo naslednje stranice, in najbližjo oznako tako, da pustijo oznako levo in čoln regatnega odbora desno. To spremeni jadralno regatno pravilo 28.1.

 

13*

CILJ

Ciljna linija bo med drogovoma z oranžnima zastavama na ciljnih oznakah.

 

(ALI)

 
   

Ciljna linija bo med drogom z oranžno zastavo na desni ciljni oznaki in levo ciljno oznako.

 

(ALI)

 

Vnesite opis.

Ciljna linija bo _____ .

 

14

SISTEM KAZNOVANJA

Navodilo 14.1 uporabite takrat, ko ne bo uporabljena kazen z dvema obratoma. Vpišite število mest ali opišite kazni.

14.1

Uporabljena bo kazen z dodelitvijo točk jadralnega regatnega pravila 44.3. Kazen bo _____ mest.

(ALI)

 

14.1

Kazni so, kot sledi: _____ .

Vpišite razred(e).

14.2

Za razred(e) _____ je jadralno regatno pravilo 44.1 spremenjeno tako, da se kazen dveh obratov zamenja s kaznijo enega obrata.

Tukaj in v nadaljevanju uporabljajte izraz ‘žirija’ samo takrat, ko gre za mednarodno žirijo.

14.3

[Protestni odbor] [Žirija] lahko po jadralnem regatnem pravilu 67 brez zaslišanja kaznuje jadrnico, ki je prekršila jadralno regatno pravilo 42.

 

(ALI)

 
Kadar ne velja celoten Dodatek P, navedite vse omejitve.

14.3

Uporabljen bo Dodatek P [kot je spremenjen z navodilom(a)] [14.2] [in] [14.4].

Priporočljivo samo za mladinske prireditve.

14.4

Pravilo P2.3 ne bo veljalo, pravilo P2.2 pa se spremeni tako, da velja za vsako kazen po prvi kazni.

15

PREDPISANI ČASI IN ČASI TRAJANJA

Vpišite razrede in čase. Izpustite predpisani čas in čas trajanja za oznako 1, če ta ni predviden.

15.1*

Predpisani časi so, kot sledi:

Razred   Predpisani čas   Predpisani čas za oznako 1   Čas trajanja

______   ___________   ______________________   ______

______   ___________   ______________________   ______

______   ___________   ______________________   ______

Plov bo razveljavljen, če v predpisanem času nobena jadrnica ne objadra oznake 1. Neizpolnjevanje časa trajanja ni osnova za nadomestilo. To spremeni jadralno regatno pravilo 62.1(a).

Vpišite čas (oz. različne čase za različne razrede).

15.2

Jadrnice, ki ne končajo plova v _____ minutah za prvo jadrnico, ki prejadra progo in konča, bodo točkovane kot ‘Ni končala’ (DNF) brez zaslišanja. To spremeni jadralna regatna pravila 35, A4 in A5.

 

16

PROTESTI IN ZAHTEVKI ZA NADOMESTILO

Navedite lokacijo, če je potrebno.

16.1

Protestni obrazci so na voljo v regatni pisarni[, ki je _____]. Protesti in zahtevki za nadomestilo ali ponovno odprtje zaslišanja morajo biti oddani v regatni pisarni znotraj predpisanega časa za oddajo protestov.

Spremenite čas, če je drugačen.

16.2

Čas za oddajo protestov je za vsak razred 90 minut po končanju zadnje jadrnice v zadnjem plovu dneva.

Spremenite čas objave, če je drugačen. Vpišite lokacijo protestne sobe in, če je primerno, uro prvega zaslišanja.

16.3

Obvestila bodo objavljena ne kasneje kot 30 minut po izteku časa za oddajo protestov, da bodo tekmovalci obveščeni o zaslišanjih v katerih so sami stranke ali so navedeni kot priče. Zaslišanja bodo v protestni sobi, ki je _____ , začetek ob [objavljenem času] [ _____ ].

 

16.4

Obvestila o protestih s strani regatnega odbora ali [protestnega odbora] [žirije] bodo objavljena za obveščanje jadrnic skladno z jadralnim regatnim pravilom 61.1(b).

 

16.5

Objavljen bo seznam jadrnic, po navodilu 14.3, ki so bile kaznovane za prekršitev jadralnega regatnega pravila 42.

 

16.6

Kršitev navodil 11.3, 18, 21, 23, 24, 25 in 26 niso podlaga za protest jadrnice. To spremeni jadralno regatno pravilo 60.1(a). Kazni za te kršitve so lahko milejše od diskvalifikacije, če [protestni odbor] [žirija] tako odloči. Okrajšava za diskrecijsko kazen po tem navodilu bo DPI (diskrecijska kazen dana).

Če je čas drugačen, ga spremenite.

16.7

Zadnji tekmovalni dan regate se mora zahtevek za ponovitev zaslišanja oddati

(a) v času za oddajo protestov, če je bila stranka, ki zahteva ponovitev, obveščena o odločitvi že prejšnji dan;

(b) najkasneje 30 minut po tem, ko je bila stranka, ki zahteva ponovitev, ta dan obveščena o odločitvi.

To spremeni jadralno regatno pravilo 66.

 

16.8

Zadnji tekmovalni dan regate se mora zahtevek za nadomestilo, ki je posledica odločitve [protestnega odbora] [žirije], oddati ne kasneje kot 30 minut po objavi odločitve. To spremeni jadralno regatno pravilo 62.2.

Vključite, če je protestni odbor mednarodna žirija, ali če velja neko drugo določilo jadralnega regatnega pravila 70.5.

16.9

Odločitve [protestnega odbora] [žirije] so dokončni po jadralnem regatnem pravilu 70.5.

 

17

TOČKOVANJE

Vključite le, če je enostavno točkovanje zamenjano s točkovanjem z bonusom.

17.1*

Uporabljeno bo točkovanje z bonusom iz Dodatka A.

 

(ALI)

 

Vključite le, če ne bo uporabljen sistem točkovanja iz Dodatka A. Opišite sistem.

17.1*

Sistem točkovanja bo, kot sledi: _____ .

Vpišite številko.

17.2*

Serija bo veljavna, če bo dokončanih _____ plovov.

Povsod vpišite številke.

17.3

(a) Če bo dokončanih manj kot _____ plovov, bodo jadrničine točke za serijo enake vsoti njenih točk za vse plove.

(b) Če bo dokončanih od _____ do _____ plovov, bodo jadrničine točke za serijo enake vsoti njenih točk za vse plove z odštetimi točkami njenega najslabšega plova.

(c) Če bo dokončanih _____ ali več plovov, bodo jadrničine točke za serijo enake vsoti njenih točk za vse plove z odštetimi točkami njenih dveh najslabših plovov.

 

18

VARNOSTNI UKREPI

Vnesite postopek prijavljanja ob odhodu na vodo in prihodu na kopno.

18.1

Prijavljanje ob odhodu na vodo in prihodu na kopno: _____.

 

18.2

Jadrnica, ki je odstopila od plova, mora o tem čimprej obvestiti regatni odbor.

 

19

ZAMENJAVA POSADKE ALI OPREME

 

19.1

Zamenjava tekmovalcev je dovoljena samo ob predhodnem pisnem soglasju [regatnega odbora] [protestnega odbora] [žirije].

 

19.2

Zamenjava poškodovane ali izgubljene opreme je dovoljena samo z odobritvijo [regatnega odbora] [protestnega odbora] [žirije]. Zahtevek za zamenjavo mora biti narejen ob prvi sprejemljivi možnosti.

 

20

PREVERJANJE OPREME IN MERITEV

Skladnost jadrnice ali opreme s pravili razreda in jadralnimi navodili se lahko preveri kadarkoli. Na vodi lahko nadzornik opreme ali merilec regatnega odbora naroči jadrnici, da nemudoma odjadra na za preglede označeno področje, za pregled.

Glej ISAF Predpis 20.3(d). Vstavite potrebna obvestila o oglaševalskem materialu.

21

OGLAŠEVANJE

Jadrnice [morajo] [lahko] namestiti oglasni material, ki ga je preskrbel organizator kot sledi: _____.

Vnesite opise. Za čolne, ki opravljajo različne naloge, po možnosti uporabite različne razpoznavne oznake.

22

SLUŽBENI ČOLNI

Službeni čolni bodo označeni, kot sledi: _____ .

 

23

SPREMLJEVALNI ČOLNI

 

23.1

Vodje ekip, trenerji in ostalo spremstvo morajo ostati zunaj tekmovalnega območja jadrnic vse od pripravljalnega signala za razred, ki bo prvi štartal, in do končanja plova vseh jadrnic oz. odstopa, oz. do signala regatnega odbora za odložitev, splošni odpoklic ali razveljavitev plova.

Vnesite razpoznavne oznake. Za mednarodne prireditve so priporočljive oznake nacionalnosti.

23.2

Spremljevalni čolni morajo biti označeni s/z _____ .

 

24

ODLAGANJE ODPADKOV
Jadrnice ne smejo odlagati odpadkov v vodo. Odpadki se lahko odlagajo na spremljevalna plovila ali plovila regatnega odbora.

 

25

OMEJITVE IZVLEKA NA SUHO

Jadrnice s fiksno kobilico se med regato lahko izvlečejo na suho samo po predhodnem pisnem dovoljenju regatnega odbora in v skladu z njim.

 

26

POTAPLJAŠKA OPREMA IN PLASTIČNI BAZENI

Naprave za podvodno dihanje, plastični bazeni ali njihovi ustrezni nadomestki ne smejo biti uporabljani okoli jadrnic s fiksno kobilico od pripravljalnega signala prvega plova do konca celotne regate.

Vnesite katerokoli alternativno besedilo, ki velja. Opišite kanale oz. frekvence radijskih zvez, ki bodo uporabljene ali dovoljene.

27

RADIJSKA KOMUNIKACIJA

Z izjemo kadar je v nevarnosti, jadrnica kadar tekmuje ne sme oddajati radijskih signalov niti sprejemati radijskih sporočil, ki niso dosegljiva vsem jadrnicam. Ta omejitev velja tudi za mobilne telefone.

Če se podeljujejo prehodne/i nagrade/pokali, navedite njihova polna imena.

28

NAGRADE

Nagrade bodo podeljene, kot sledi: _____ .

Veljavni predpisi za prireditveni prostor lahko omejujejo odklonitve. Vsako besedilo odklonitve mora biti v skladu z veljavnimi zakoni.

29

ODKLONITEV ODGOVORNOSTI

Tekmovalci v celoti sodelujejo na lastno odgovornost. Glej jadralno regatno pravilo 4, Odločitev za tekmovanje. Organizator ne prevzema nobene odgovornosti za materialno škodo ali telesne poškodbe ali smrt, ki bi nastali v kakršnikoli zvezi z regato, bodisi pred, med ali po regati.

Vpišite valuto in znesek.

30

ZAVAROVANJE

Vsaka sodelujoča jadrnica mora biti obvezno zavarovana za odgovornost do tretjih, z najmanjšim kritjem _____ za prireditev oz. ustrezno protivrednostjo.

 

DOPOLNILO A

PRIKAZ PROGE

Tu so prikazane skice različnih oblik proge. Sled jadrnic je narisana kot neprekinjena linija, da lahko vsak diagram predstavi proge z različnim številom krogov. Kadar je prog za en razred več navedite, kako bo posamezna proga označena.

Privetrno-zavetrna proga

Štart - 1 - 2 - 1 - 2 - Cilj

Med možnosti za to progo sodijo:

(1) povečanje ali zmanjšanje števila krogov,

(2) opustitev zadnje stranice proti vetru,

(3) uporaba vrat namesto zavetrne oznake,

(4) uporaba pomožne oznake pri privetrni oznaki, in

(5) uporaba zavetrne in privetrne oznake za štartno in ciljno oznako.

 

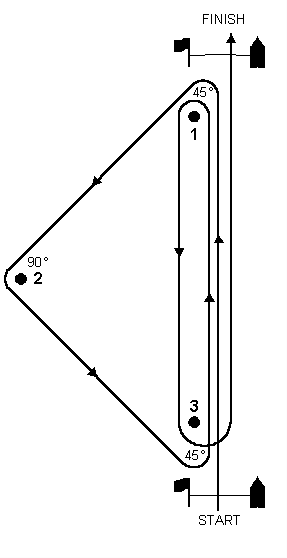
Privetrno-zavetrna-trikotna proga

Štart - 1 - 2 - 3 - 1 - 3 - Cilj

Med možnosti za to progo sodijo:

(1) zvečanje ali zmanjšanje števila krogov,

(2) opustitev zadnje stranice proti vetru,

(3) sprememba notranjih trikotnikovih kotov (običajni so 45° - 90° - 45° in 60° - 60° - 60°),

(4) uporaba vrat namesto zavetrne oznake za stranice z vetrom,

(5) uporaba pomožne oznake na začetku stranic z vetrom, in

6) uporaba zavetrne in privetrne oznake za štartno in ciljno oznako.

Pazite, da natančno določite notranji kot pri vsaki oznaki.

 

 


Štart - 1 - 2 - 3 - 2 - 3 - Cilj

Štart - 1 - 4 - 1 - 2 - 3 - Cilj

Trapezoidne proge

Med možnosti za to progo sodijo:

(1) dodajanje dodatnih stranic,

(2) nadomestitev vrat s posamezno oznako, oz. uporaba vrat tudi na zunanji zanki,

(3) sprememba notranjih kotov za stranice z bočnim vetrom,

(4) uporaba pomožne oznake na začetku stranic z vetrom, in

(5) čolni na cilju, ki so bolj v smeri proti vetru kot na stranici z bočnim vetrom.

Pazite, da je pri vsaki stranici z bočnim vetrom natančno določen notranji kot.

 

 

DOPOLNILO B

JADRNICE, KI JIH PRISKRBI ORGANIZATOR

Naslednje jadralno navodilo je priporočljivo takrat, ko vse jadrnice priskrbi organizator. Lahko je spremenjeno tako, da ustreza okoliščinam. Kadar je uporabljeno, ga je treba vnesti za navodilom št. 3.

4 JADRNICE

4.1 Jadrnice bodo zagotovljene za vse tekmovalce; ti jih ne smejo spreminjati ali povzročiti, da bi se na kakršenkoli način spremenile, razen da:

(a) se lahko kompas priveže ali z lepilnim trakom prilepi na trup ali drogove;

(b) smejo biti vetrokazi, vštevši preja ali nitka, privezani ali prilepljeni kjerkoli na jadrnici;

(c) se smejo trup, kobilica in krmilo čistiti samo z vodo;

(d) je lahko samolepilni trak uporabljen kjerkoli nad vodno linijo; in

(e) se vse okovje in oprema, ki so načrtovani tako, da se prilagajajo, smejo prilagoditi, pod pogojem, da se vse ujema s pravili razreda.

4.2 Vsa oprema, s katero je jadrnica opremljena za namene jadranja, mora biti na jadrnici, ko ta izplove.

4.3 Kazen za neupoštevanje enega zgornjih navodil bo diskvalifikacija v vseh odjadranih plovih, v katerih je bilo navodilo kršeno.

4.4 Tekmovalci morajo o vsaki škodi na opremi oz. izgubi opreme, pa naj bo še tako neznatna, poročati predstavniku organizatorja takoj, ko jadrnico spravijo na varno ob obali. Kazen za kršitev tega navodila bo diskvalifikacija v zadnjem odjadranem plovu, razen če se [protestni odbor] [žirija] prepriča o tem, da si je tekmovalec izrecno prizadeval upoštevati to navodilo.

4.5 Pravila razreda, ki za tekmovalce predpisujejo, da morajo biti člani zveze razreda, ne veljajo.